雷竞技RAYBET官网
院长信箱
|
设为首页
|
加入收藏
|
English Version
首页
雷竞技RAYBET概况
雷竞技RAYBET简介
学院领导
组织机构
办公指南
党群工作
组织机构
规章制度
工会工作
党群活动
师资队伍
工程管理系
信息管理与信息系统系
工商管理系
会计学系
经济科学系
大数据管理系
学科科研
学科设置
学科带头人
科研机构
科研团队
本科生教育
规章制度
专业设置
培养方案
资料下载
研究生教育
规章制度
专业设置
培养方案
指导教师
学生工作
组织机构
学工动态
招生就业
学工文件
MBA/MEM
MBA
MEM
校友工作
校友风采
校友活动
校友捐赠
办事流程
办事流程
当前位置:
首页
>>
办事流程
>> 正文
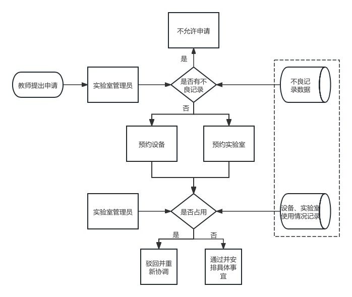
【实验室】教职工预约流程
来源:
日期:
11-06
点击
上一条: 【实验室】固定资产建档流程
下一条: 【实验室】设备家具采购流程